【环球网科技综合报道】2月5日消息,据中国基金报报道,初创AI企业杭州深度求索人工智能基础技术研究有限公司(DeepSeek)发布了多个岗位的招聘信息,涵盖深度学习研究员、核心系统研发工程师及资深UI设计师等。其中,大部分岗位的起薪在2万元以上,不少年薪能够达到百万元级别。

天眼查App显示,杭州深度求索人工智能基础技术研究有限公司成立于2023年7月,法定代表人为裴湉,注册资本1000万人民币,经营范围包括信息系统集成服务、人工智能应用软件开发、信息技术咨询服务等,由梁文锋及其名下宁波程恩企业管理咨询合伙企业(有限合伙)共同持股。
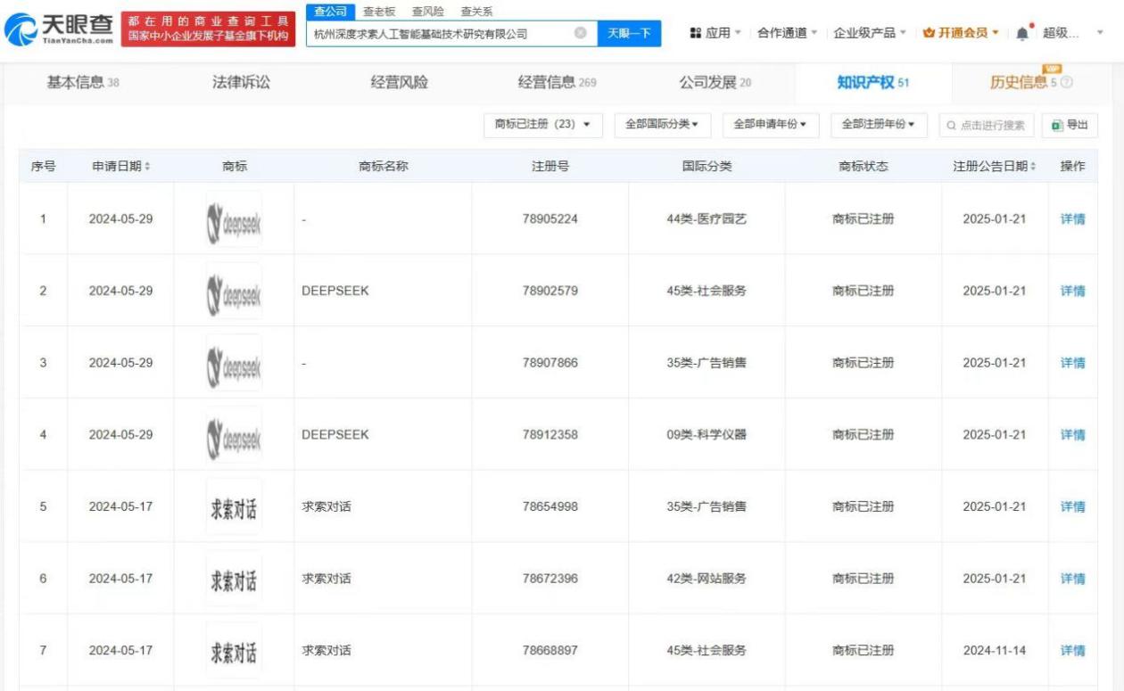
知识产权信息显示,该公司已成功注册多枚“DEEPSEEK”“求索对话”“深度求索”商标,国际分类涉及广告销售、科学仪器、教育娱乐等。此外,该公司全资持股的北京深度求索人工智能基础技术研究有限公司,已于2024年12月获批登记“Deepseek对话软件系统”软件著作权,版本号为V1.0。(青云)









