4个回答
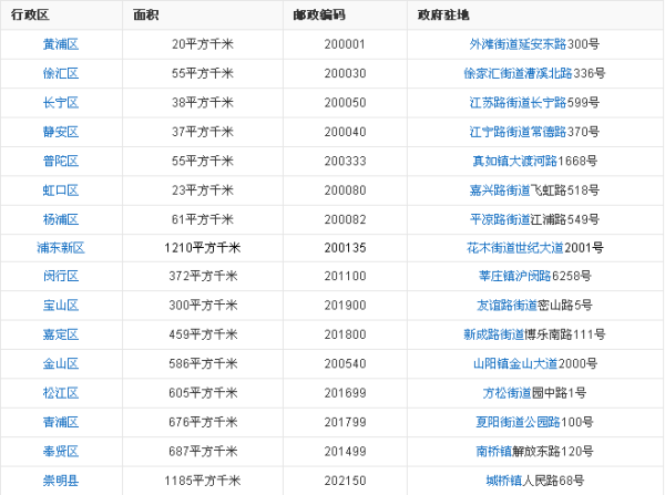
截至2019年9月,上海只有16个区,分别是黄浦区、徐汇区、长宁区、静安区、普陀区、虹口区、杨浦区、闵行区、宝山区、嘉定区、浦东新区、金山区、松江区、青浦区、奉贤区、崇明区。具体介绍以下几个区:
1、长宁区
长宁区位于上海中心城区西部,处于东经121°26′01″~121°19′36″,北纬31°10′46″~北纬31°14′43″之间。
长宁区东起长宁路,折江苏路、武定西路、万航渡路、镇宁路、华山路、兴国路,与静安区、徐汇区毗邻;西与闵行区接壤;南从虹桥国际机场南围墙,折沪杭铁路徐虹支线、沪杭铁路、淮海西路、淮海中路与闵行区、徐汇区相连;北达吴淞江,折万航渡后路,与嘉定区、普陀区为邻。
2、虹口区
虹口区,上海市下辖区,位于上海市区北部偏东。虹口区面积23.45平方公里,其中陆地面积22.54平方公里,水面面积0.91平方公里。
虹口区东临大连路、大连西路、密云路、邯郸路、逸仙路,与杨浦区接壤;西靠河南北路、罗浮路、淞沪铁路、西宝兴路、北宝兴路、俞泾浦、江杨南路,与闸北区毗连;南濒黄浦江、吴淞江,与浦东新区和黄浦区隔江相望;北至三门路稍北的农机路,与宝山区相接。

3、杨浦区
杨浦区位于上海中心城区东北部,地处黄浦江下游西北岸,与浦东新区隔江相望,西临虹口区,北与宝山接壤。杨树浦港纵贯区境南北,杨浦即以此演变得名,南部沿江地带是曾经的上海公共租界东区,中部偏东区域则为“大上海计划”实施地。
4、宝山区
宝山区位于上海市北部,分成陆地和岛屿两部分,全境东西长56.15公里,南北宽约23.08公里,区域面积424.56平方公里。
宝山区东北濒长江,东临黄浦江,南与杨浦、虹口、静安、普陀4区毗邻,西与嘉定区交界,西北隅与江苏省太仓市为邻,横贯中部的蕴藻浜把它分成南北两部,吴淞大桥和蕴川路大桥、江杨路大桥、塘桥大桥横跨其上;长兴、横沙两岛自西至东,横卧于长江口南支水道。
5、金山区
金山区隶属于上海市,是上海西南部远郊,位于中国长江以南、黄浦江上游南岸,东与奉贤区接壤、北与松江区、青浦区为邻,西与浙江平湖、嘉善交界。全境地势低平,地面高程自北西至东南略有升高。河流属黄浦江水系,源出浙江天目山区,全区总面积613平方公里。
参考资料来源:上海市人民政府-行政区划
参考资料来源:百度百科-上海
上海辖15个市辖区、1个县, 包括: 黄埔区, 徐汇区, 长宁区, 静安区, 普陀区, 虹口区, 杨浦区, 浦东新区, 闵行区, 宝山区, 嘉定区, 金山区, 松江区, 青浦区, 奉贤区, 崇明县.

上海辖15个市辖区、1个县,总面积6340平方公里,属亚热带湿润季风气候,四季分明,日照充分,雨量充沛。上海气候温和湿润,春秋较短,冬暖夏凉。1月份最冷,平均气温约4℃,通常7月份最热,平均气温约28℃。
上海是中国重要的的经济、交通、科技、工业、金融、会展和航运中心,是世界上规模和面积最大的都会区之一。2014年上海GDP总量居中国城市第一,亚洲第二。上海港货物吞吐量和集装箱吞吐量均居世界第一,是一个良好的滨江滨海国际性港口。上海也是中国大陆首个自贸区“中国(上海)自由贸易试验区”所在地。上海与江苏、浙江、安徽共同构成的长江三角洲城市群已成为国际6大世界级城市群之一。